钛合金作为上世纪50年代兴起的重要金属材料,具有比强度高、耐腐蚀性强、耐高低温性好等优点,在航空航天等领域得到了广泛应用。如飞机蒙皮、隔热板、导风板等非承力结构件,以及隔框、梁、襟等结构件,随着飞机机型不断更新换代,钛合金用量在飞机中的占比不断提升。如我国C919大飞机钛合金质量占比为9.3%,新一代大飞机C929钛合金质量预计将增加至15%[1-2]。
然而,大多数钛合金室温下成形困难且质量不高,通常采用加热方式降低钛合金变形抗力、提高塑性变形能力[3-4]。宗影影等对BT14钛合金进行了高温压缩实验,结果表明,应力随着温度的升高显著下降。丁嘉健等[6]对TC4钛合金进行拉伸实验,结果表明,室温下材料伸长率为10%、抗拉强度为1100MPa,当温度升至800℃时,伸长率提高至17%,抗拉强度降至100MPa。谢洪志等[7]对Ti65钛合金板材在740~840℃进行了拉伸实验,结果表明,随着温度升高,应力峰值减小、应变率增大,断裂主要由微孔聚集引起,温度越高等轴韧窝数量越多,越有利于塑性的提高。
另外,成形过程中对坯料或模具施加一定能量的超声振动,也可以提高材料塑性变形能力和成形质量[8]。ZHAO等[9]在Ti-6Al-4V钛合金滚压过程施加超声振动后,不仅降低了材料流动应力,同时还提高了滚压质量。GAO等[10]在钛合金TA2板材胀形过程中施加超声振动后,不仅减小摩擦对胀形过程的影响,还提高了板材的成形极限。与此同时,高温条件下加载速度对钛合金的塑性也有影响[11]。蔡刚[12]进行的BT25钛合金高温压缩实验,结果表明,降低加载速度可以减小流变应力。杨晓明[13]进行的TC4钛合金高温压缩实验结果也表明,降低加载速度可降低成形力,提高断裂应变。
为了探索变形温度、超声振动与加载速率对钛合金的作用规律,本文作者开展了BT14钛合金板材在温度/超声/速度复合能场下的拉伸性能研究,分析了复合能场对钛合金板材的抗拉强度、伸长率等力学性能及显微组织的影响规律。
1、实验材料、装置及方案
1.1材料
BT14(Ti-4.5Al-3Mo-1V)是一种可通过热处理强化的α+β型结构钛合金,室温下抗拉强度可达1100MPa;另外,BT14钛合金还具备较好的焊接性能和热稳定性,主要应用于航空航天领域的高强度结构件、紧固件及高压容器等。BT14钛合金化学成分见表1。
表1BT14化学成分(质量分数/%)
Table1 ChemicalcompositionofBT14(massfraction/%)
| 成分 | 质量 | 成分 | 质量 |
| Al | 4.50 | 0 | 0.12 |
| Mo | 3.10 | Zr | 0.10 |
| V | 1.10 | Fe | 0.06 |
| Si | <0.15 | Ti | 余量 |
1.2装置
实验装置如图1所示。在传统拉伸实验机上,通过增加温度控制装置、超声振动装置实现不同温度、超声振动及拉伸速率下的变形。其中,温度控制装置由温控控制器、加热炉、循环水冷等组成,超声振动装置由变幅杆、换能器、超声波发生器等组成。

1.3方案
实验用坯料尺寸如图2所示。厚度为0.8mm。考虑到BT14钛合金的使用温度及材料性能,实验温度分别为500,550,600,650℃;超声振动频率为20kHz,功率分别为1.0,1.2,1.4kW;拉伸速度分别为0.5,1.0,2.0,3.0mm/min。具体实验方案见表2。每个实验重复6次,取平均值。

表2实验方案
Table2 Experimentalscheme
| 能场 | 温度/℃ | 超声振动功率/kW | 速度/(mm·min-1) |
| 500 | 1 | ||
| 温度 | 550 | 一| | 1 |
| 600 | 一 | 1 | |
| 650 | 一 | 1 | |
| 500 | 0,1.0,1.2,1.4 | 1 | |
| 温度/超声 | 550 | 0,1.0,1.2,1.4 | 1 |
| 600 | 0,1.0,1.2,1.4 | 1 | |
| 650 | 0,1.0,1.2,1.4 | 1 | |
| 温度/超声/速度 | 500 | 0,1.0,1.2,1.4 | 0.5,1,2,3 |
| 600 | 0,1.0,1.2,1.4 | 0.5,1,2,3 |
2、结果及分析
2.1温度场对材料性能的影响
图3为不同温度下BT14钛合金应力-应变曲线。拉伸速度为1mm/min。可以看出,随着温度的升高抗拉强度明显下降、伸长率逐渐提高。抗拉强度由500℃时的489.3MPa降至650℃时的166.58MPa,下降幅度为65.96%。伸长率由500℃时的16.22%提高到650℃时的34.86%,提升幅度为115%。这是由于随着温度升高,原子扩散能力增强,位错阻力降低,钛合金强度降低、变形能力增强,呈现较为明显的“材料高温软化”效果。

2.2温度/超声复合能场对材料性能的影响
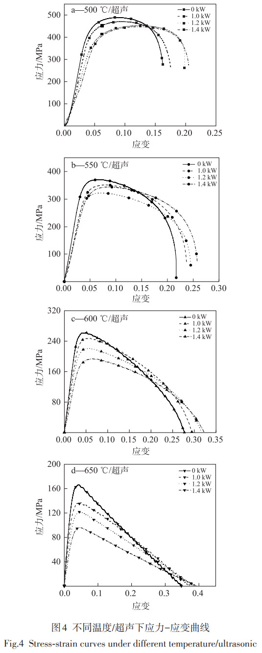
图4为不同温度/超声复合能场下BT14钛合金应力-应变曲线(拉伸速度为1mm/min)。在500℃较低温度下,施加振动功率为1.0,1.2,1.4kW超声后,材料抗拉强度分别降低了3.8%,7.6%,8.5%;而在650℃较高温度下,抗拉强度分别降低了17.8%,26.7%,42.3%;随着温度升高,材料抗拉强度下降幅度呈上升趋势。由图4还可以看出,BT14钛合金伸长率在500℃较低温度下,施加超声振动功率1.0,1.2,1.4kW后,材料伸长率分别提高了8.9%、22.5%、26.6%;而在650℃较高温度下,伸长率分别提高了7.3%,11.8%,13.1%,随着温度升高,材料伸长率提高幅度呈下降趋势。这是由于温度/超声复合能场拉伸过程,超声带来的振动及应力叠加效应,使材料激活能增大,原子扩散能力增强,位错阻力降低,“材料高温软化”效果进一步增强,因此强度降低幅度较大。BT14钛合金在500℃的伸长率较小,施加超声振动后提高幅度较为明显,而650℃的伸长率较大,施加超声振动后提高幅度较小,但总体而言材料伸长率均有不同程度的提高。

2.3温度/超声/速度复合能场对材料性能影响
图5为不同温度/超声/速度下对BT14钛合金抗拉强度及伸长率的变化曲线。可见,提高温度、加大超声振动功率、降低加载速度都可以明显地降低材料抗拉强度。在高温状态下,加载速度对抗拉强度的影响较为敏感,在低温下变化幅值不大。如500℃/1.4kW/3mm/min时的抗拉强度为482MPa,比0.5mm/min时的抗拉强度440.4MPa提高了9.4%;而在600℃/1.4kW/3mm/min时的抗拉强度为276MPa,比0.5mm/min时的抗拉强度170MPa提高了62.4%。这是由于温度较低时,材料的加工硬化较为明显,因此受加载速度的影响相对较小;而温度较高时材料已经软化,加载速度的影响就变得敏感,速度越快材料的加工硬化越明显,因此抗拉强度下降的幅度也就越小。

由图5还可以看出,温度、超声振动和加载速度也会影响BT14钛合金的伸长率,但温度占主导地位。在温度较低时,加载速度对伸长率的影响大于超声振动,但随着温度的升高,超声振动的影响大于加载速度的影响。这是因为加载速度越小,材料在一定温度条件下的时间越长,材料内部能量积累越大,材料软化更加彻底,但随着温度的升高导致材料内部能量的不断增大,从而使其影响逐渐减弱。
3、显微组织分析
为了进一步研究温度/超声/速度复合能场对BT14钛合金材料性能的影响机理,对典型拉伸试件进行了显微组织观察。对金相样品进行了镶嵌,打磨抛光至镜面,使用体积比为1:3:87的HF:HNO3:H2O腐蚀液腐蚀15s后,用Olympus光学显微镜进行观察。
图6为不同温度/超声/速度下的BT14钛合金的显微组织。对比图6a、b可知,随着温度的升高,β相向α相转化,低温时的纤维状α相长大,并连在一起形成等轴状α相,组织由双态组织向等轴组织转化,宏观上表现为钛合金在高温条件下塑性增强,与实验结果一致。对比图6a、c可知,同等条件下施加超声振动后α相及β相均转化为体积更小且形状更细碎的等轴状,晶粒得到细化,从而提升了材料的塑性。对比图6c、d可知,当拉伸速度为较大的3mm/min时,β相更为密集且晶粒尺寸也更大,纤维状α相也更多;降低速度后,β相向α相转化更为彻底,晶粒尺寸减小,从而使材料的塑性变形能力更强,这与实验结果一致。

4、结论
1)在不同温度/超声/速度复合能场下对BT14钛合金材料进行了拉伸实验,结果表明,提升加热温度、增加超声振动、降低加载速度可以减小材料抗拉强度、提高伸长率,进一步提升了材料塑性变形能力。
2)在影响BT14钛合金材料拉伸性能因素中,加热温度占主导地位,超声振动和拉伸速度的影响幅值相近。温度较低时,拉伸速度对伸长率的影响较大;温度较高时,超声振动对伸长率的影响较大。同时也说明在高温情况下,可通过施加超声振动能场来减小拉伸速度的影响,实现在较高速度条件下材料成形。
3)对拉伸试件断裂处进行显微组织分析,结果表明,提高温度可使α相增加,纤维状α相转变成等轴状α相,组织由双态组织向等轴组织转化;施加超声振动可以使晶粒尺寸减小,晶粒得到细化使塑性增强;降低加载速度可以使β相向α相的转化更彻底。
5、参考文献
[1]刘世锋,宋玺,薛彤,等.钛合金及钛基复合材料在航空航天的应用和发展[J].航空材料学报,2020,40(3):77-94.
LIU Shifeng,SONG Xi,XUE Tong,et al. Application and de-velopment of titanium alloy and titanium matrix composites in aerospace field[J]. Journal of Aeronautical Materials,2020,40(3):77-94.(in Chinese)
[2]吕冬兰.钛合金在民用飞机上的应用及发展趋势[J].世界有色金属,2018(5):230-231.
L Donglan. Application and development trend of titanium al-loy in civil aircraft[J]. World Nonferrous Metals,2018(5):230-231.(in Chinese)
[3] YANG Xiaoming,DANG Liming,WANG Yaoqi,et al.Spring-back prediction of TC4 titanium alloy V- bending under hot stamping condition[J]. Journal of Central South University,2020,27(9):2578-2591.
[4]董晓锋,张明玉,郭新,等.Ti-55511钛合金高温拉伸变形行及显微组织演变[J].兵器材料科学与工程,2023,46(1):35-43.
DONG Xiaofeng,ZHANG Mingyu,GUO Xin,et al. High temperature tensile deformation behavior and microstructure evolu-tion of Ti-55511 titanium alloy[J]. Ordnance Material Science and Engineering,2023,46(1):35-43.(in Chinese)
[5]宗影影,单德彬,吕炎.热压缩Ti-4.5Al-3Mo-1V合金的流变应力行为[J].锻压技术,2005(3):50-52.
ZONG Yingying,SHAN Debin,L Yan. Flow stress behavior of Ti-4.5Al-3Mo-1V alloy during hot compressi on deformation[J].Forging& Stamping Technology,2005(3):50-52.(in Chinese)
[6]丁嘉健,刘家和,杨展铭,等.TC4钛合金板材高温热拉伸性能的研究[J].科技创新与应用,2019,267(11):41-42.
DING Jiajian, LIU Jiahe, YANG Zhanming, et al. Study on high temperature thermal tensile properties of TC4 titanium al-loy sheet[J]. Technology Innovation and Application,2019,267(11):41-42.(in Chinese)
[7]谢洪志,刘广鑫,彭皓云,等.Ti65钛合金板材高温力学性能及影响因素[J].兵器材料科学与工程,2022,45(2):26-29.XIE Hongzhi,LIU Guangxin,PENG Haoyun,et al. High tem-perature mechanical properties and influencing factors of Ti65 titanium alloy sheet[J]. Ordnance Material Science and Engi-neering,2022,45(2):26-29.(in Chinese)
[8]高铁军,王旭,刘少青,等.TA2钛合金圆筒件超声振动辅助拉深工艺研究[J].兵器材料科学与工程,2021,44(1):8-12.GAO Tiejun,WANG Xu,LIU Shaoqing,et al. Ultrasonic vibra-tion-assisted drawing process of TA2 titanium alloy cylindrical part[J]. Ordnance Material Science and Engineering,2021,44(1):8-12.(in Chinese)
[9] ZHAO Jian, LIU Zhanqiang. Investigations of ultrasonic fre-quency effects on surface deformation in rotary ultrasonic roll-er burnishing Ti-6Al-4V[J].Materials& Design,2016,107:238-249.
[10] GAO Tiejun,WANG Xu,LIU Shaoqing,et al. Effect of ultra-sonic vibration on mechanical properties and bulging perfor-mance of TA2 titanium alloy sheet[J]. Rare Metal Materials
and Engineering,2020,49(12):4010-4015.
[11]张禹森.TB6钛合金航空模锻件低倍粗晶的形成机理研究[D].秦皇岛:燕山大学,2021.
ZHANG Yusen. Study on the formation mechanism of coarse grain in TB6 aviation die forging[D].Qinhuangdao:Yanshan University,2021.(in Chinese)
[12]蔡钢.BT25钛合金热变形行为研究[D].贵阳:贵州大学,2015.
CAI Gang. Study on hot deformation behavior of BT25 titani-um alloy[D]. Guiyang:Guizhou University,2015.(in Chi-nese)
[13]杨晓明.TC4钛合金冷模叠层热冲压工艺及回弹研究[D].北京:北京科技大学,2022.
YANG Xiaoming. Research on the forming and springback of TC4 titanium alloy the pile sheet hot stamping with cold die process[D]. Beijing: University of Science and Technology Beijing,2022.(in Chinese)
[14]张海龙.BT14钛合金板材研制[D].西安:西安建筑科技大学,2013.
ZHANG Hailong. The research of BT14 titanium alloy plate[D].Xi'an:Xi'an University of Architecture and Technology,2013.(in Chinese)
[15]高铁军,闻祥捷,冯卓,等.钛合金温度/超声复合能场辅助成形及应用[J].塑性工程学报,2024,31(4):219-226.
GAO Tiejun, WEN Xiangjie, FENG Zhuo,et al. Compound energy field with temperature and ultrasonic assisted forming process of titanium alloy and its applications[J]. Journal of Plasticity Engineering,2024,31(4):219-226.(in Chinese)
[16]曹宁,李金泉.Ti-6Al-4V动态力学性能与本构关系研究[J].工具技术,2023,57(8):37-41.
CAO Ning,LI Jinquan. Study on dynamic mechanical proper-ties and constitutive relationship of Ti-6Al-4V[J]. Tool Engi-neering,2023,57(8):37-41.(in Chinese)
(注,原文标题:温度_超声_速度对BT14钛合金拉伸性能的影响_李伟杰)

